При бурении и откачках в скважинах отбирают пробы, измеряют уровень, температуру и дебит воды. Пробы воды отбирают пробоотборниками, использование которых дает возможность установить химический и газовый состав воды в любой точке скважины.
Пробоотборник ГГП (рис. 11.11) представляет собой поддон 4 с кольцевым уплотнением 5, имеющий осевой канал, перекрываемый краном 6. Поддон опускается в скважину на мерном тросике 1 на требуемую глубину. Затем с поверхности последовательно сбрасывают корпус 3 и пробку 2, изолирующие воду в приборе от боковой поверхности и верхнего торца. Пробоотборник поднимают на поверхность, поворотом крана вода из прибора сливается, образуя пробу.

Рис.11.11. Глубинный пробоотборник ГГП
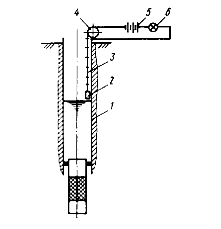
Для отбора проб воды и растворенного в ней газа используют бесклапанные поршневые пробоотборники ППБ, двухклапанные герметичные пробоотборники ПГ и др. Объем отбираемой пробы составляет 2,5-3 л. Уровень воды в скважине изменяют хлопушками, световыми датчиками, электроуровнемерами. Хлопушка представляет собой корпус с торцовой полостью и ушком, опускаемым в скважину на мерном шнуре. При контакте торца прибора с водой раздается характерный хлопок. Световой датчик имеет корпус, внутри которого размещены лампочка и батарейка, снизу контактирующая с легким полым шариком. В момент достижения датчиком уровня воды шарик всплывает, перемещая батарейку вверх и замыкая ее контакты с лампочкой. Длина мерного шнура в момент появления света укажет уровень воды. Электроуровнемер (рис. 11.12) представляет собой контактный стержень 2, опускаемый в скважину с помощью гидрогеологической рулетки 4 на одножильном кабеле 3 с мерными метками. В электрическую цепь входят также батарейка 5, лампочка 6 и второй токопровод, соединенный с обсадной колонной 1. При контакте стержня с водой электрическая цепь замыкается. В результате загорается лампочка, а длина кабеля в этот момент показывает положение уровня воды.

Рис.11.12. Схема работы электроуровнемера
Уровнемеры марок УЭ и ПУ имеют диапазон измерений от 0—50 до 0—500 м при допустимой погрешности от ± 0,2 до ± 0,3 см. Описанные уровнемеры относятся к приборам дискретного действия. Непрерывное измерение уровня воды осуществляется пневматическими, мембранными, поплавковыми, звукометрическими, пружинно-поршневыми уровнемерами.
Заслуживает внимания уровнемер УГ-2М, разработанный в Свердловском горном институте совместно с трестом "Востокбурвод" и используемый для регистрации режима откачки по изменению динамического уровня воды. В комплект уровнемера входят скважинный снаряд, наземный каротажный регистратор для непрерывной записи изменения уровня и лебедка с двухжильным каротажным кабелем. Уровнемер УГ-2М обеспечивает измерение уровня воды в диапазоне 0-100 м при погрешности измерения 0,5 % от верхнего предела. Диаметр скважинного снаряда составляет 50 мм. Температуру воды в скважине измеряют ртутными термометрами, показания которых в момент отсчета мало отличаются от температуры измеряемой жидкости. Существуют также электрические термометры, позволяющие вести непрерывную регистрацию температуры воды в скважине с передачей соответствующей информации на наземный пульт и записью самописцем на диаграмме. Погрешность измерения температуры указанными приборами составляет ± 0,5 °С.
Способы измерения дебита скважины
Дебит гидрогеологических скважин измеряют следующими способами:
- объемным
- методом водослива
- с помощью водяных счетчиков и диафрагменных расходомеров.
Объемный способ измерения дебита широко распространен и заключается в фиксировании времени t наполнения откачиваемой водой сосуда измеренного объема V. Дебит Q = V/t. Для уменьшения погрешности измерения объем емкости должен быть таким, чтобы при ожидаемом дебите она заполнялась водой не менее чем за 1 мин.
Метод водослива заключается в измерении средней скорости vcp движения откачиваемой воды по желобу и площади поперечного сечения потока F. Дебит Q = vcpF.
Принцип работы водяных счетчиков основан на измерении частоты вращения и крыльчатки, помещенной в трубопровод. Предварительно с помощью объемного метода строят тарировочную кривую вида: Q =ƒ(n).
Принцип работы диафрагменного расходомера основан на измерении перепада давления Ah в потоке воды до и после гидравлического сопротивления (диафрагмы), помещенной в трубопровод. Предварительно строят тарировочную кривую вида: Q = ƒ (∆h ).
