
Буровая установка УРБ 2,5А предназначена для бурения
геофизических и структурных скважин глубиной до 200 м
вращающимися бурильными трубами диаметром 60,3мм и глубиной до 300м - трубами
диаметром 50 мм с очисткой скважины промывкой, а также для бурения групповых
скважин шнеками. Представляет собой комплекс механизмов, смонтированных на
автошасси КамАЗ-43114 (6х6) или ЗИЛ 131 повышенной проходимости.
Комплектуется по требованию заказчика инструментальным блоком,
предназначенных для перевозки бурильных труб, бурильного и слесарного
инструмента, а также некоторых приспособлений, облегчающих работу бурильщика.
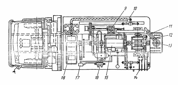
Основные узлы буровой установки:
- главная трансмиссия
- лебедка,
- ротор
- поршневой буровой насос
- мачта
- механизм подачи инструмента
- трехскоростная коробка передач
- передающее вращение от главной трансмиссии на лебедку и ротор.
Главная трансмиссия приводится в действие карданным валом от коробки отбора мощности. Представляет собой вал, смонтированных на двух подшипниковых опорах, на одном конце которого свободно посажен шкив клиноременной передачи бурового насоса, а на другом - шкив привода механизма подачи посажен на шпонке. Шкив привода бурового насоса включается в работу полумуфтой, передвигающей по шлицам вала. Шкив привода механизма подачи включен постоянно.
Лебедка приводится в действие цепной передачей от коробки скоростей.
На общем валу лебедки установлены два барабана, каждый из которого имеет
самостоятельное включение (фрикционную муфту) и тормоз. Один барабан
предназначен для поддерживания инструмента во время бурения, другой - для
спускоподъемных работ. Наличие двух барабанов позволяет ускорить и значительно
облегчить выполнение операций по наращиванию и спуску - подъему бурового
инструмента.
Ротор - обычный, с конической передачей,
расположен в масленой ванне.
Мачта - трехгранная, сварная из
труб, на верхней площадке установлен четырехроликовый кронблок. Спуск и подъем
мачты осуществляется с помощью гидродомкрата.
Механизм подачи
инструмента - механизирует процесс бурения, а также позволяет осуществлять
аварийный подъем инструмента.
Буровой насос НБ-32, приводящий в действие от главной трансмиссии
установки с помощью клиноременной передачи, обеспечивает надежную промывку
буровых скважин. Рабочее место в ночное время освещается тремя фарами,
расположенными на мачте и питающимися от аккумулятора
автомашины.
Технические характеристики буровой установки УРБ 2.5 А
|
Наименование |
Значение |
| Допускаемая нагрузка на крюке, кН | 40 |
| Расчетная скорость подъема бурового снаряда, м/с | 0-2.2 |
| Расчетная чистота вращения бурового снаряда (инструмента), с (об/мин) | 80-300 |
| Глубина бурения, м: | |
| Бурильными трубами диаметром: | |
| 60,3мм | 200 |
| 50мм | 300 |
| Диаметр бурения, мм, не более: | |
| бурильными трубами с промывкой: | |
| начальный | 190 |
| конечный | 93 |
| Длина бурильной свечи, м | 6.0 |
| Наибольшее(расчетное) усилие подачи инструмента, кН (тс) | 26(2.6) |
| Высота мачты от стола ротора до оси кронблока, мм | 9.500 |
| Буровой насос НБ-32 | |
| Объемная подача ( наибольшая) м/ч (дм/с) | 40(11) |
| Максимальное давление насоса, МПа (кгс/см) | 4.0(40) |
| Габаритные размеры установки, мм, не более | 11200x2500x3800 |
| Масса установки полная, кг, (не более) | 14730 |
| Коробка передач | трехскоростная |
| Мачта установки | сварная из труб |


Рис. 1 - Общий вид буровой установки УРБ 2.5 А
1 - автомобиль; 2 - трансмиссия главная; 3 - домкрат гидравлический; 4 - кронблок; 5 - мачта; 6 - вертлюг; 7 - штанга бурильная; 8 - домкраты винтовые; 9 - механизм подачи бурового инструмента; 10 - устройство для шнекового бурения; 11 - устройство для развинчивания труб; 12 - лебедка; 13 - ротор; 14 - рычаги управления; 15 - коробка перемены передач; 16 - распределитель масляной системы; 17 - насос ручной; 18 - насос буровой
